Skip to main content

Hammer lock links

Accessories

Category Quick and Hammer lock links

Description

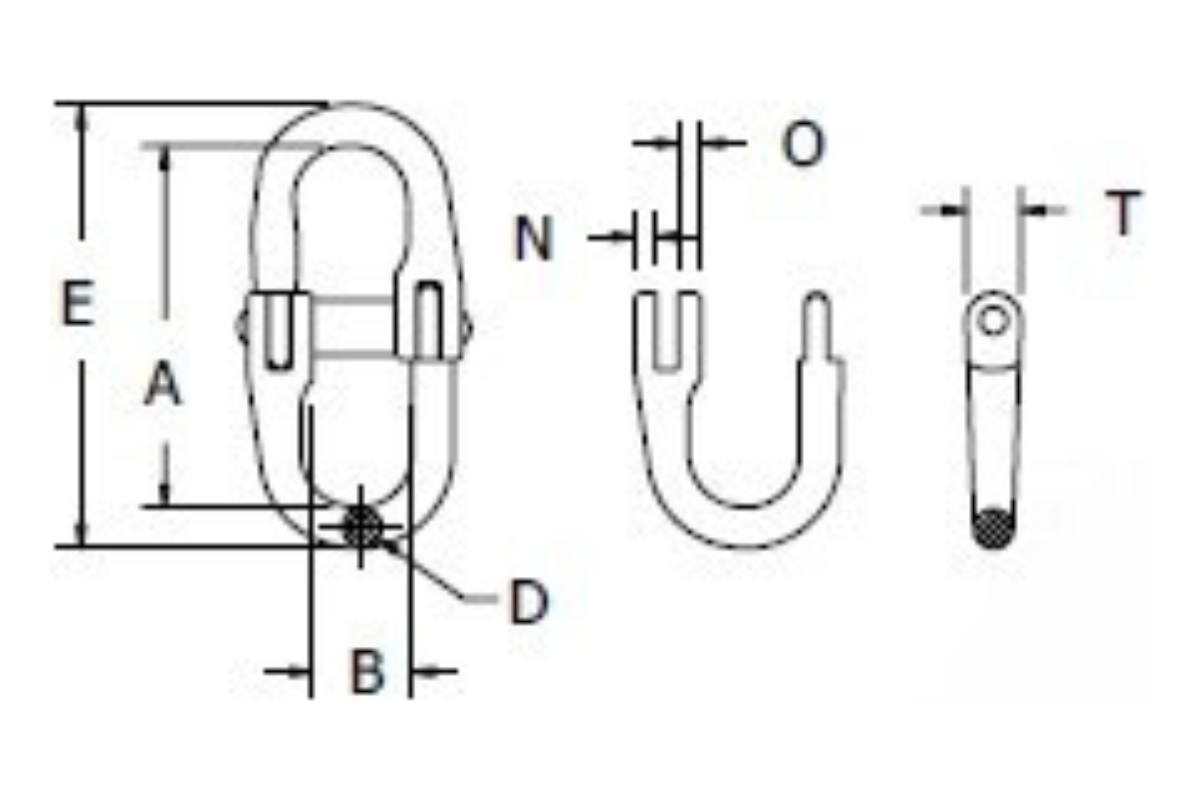
Hammer lock links, in grade 80 and 100, are designed to join two slings or accessories together. Made for lifting, they are ideal for heavy industrial use.

Material
Alloy steel, quenched and tempered - Grade 80 and 100