Skip to main content

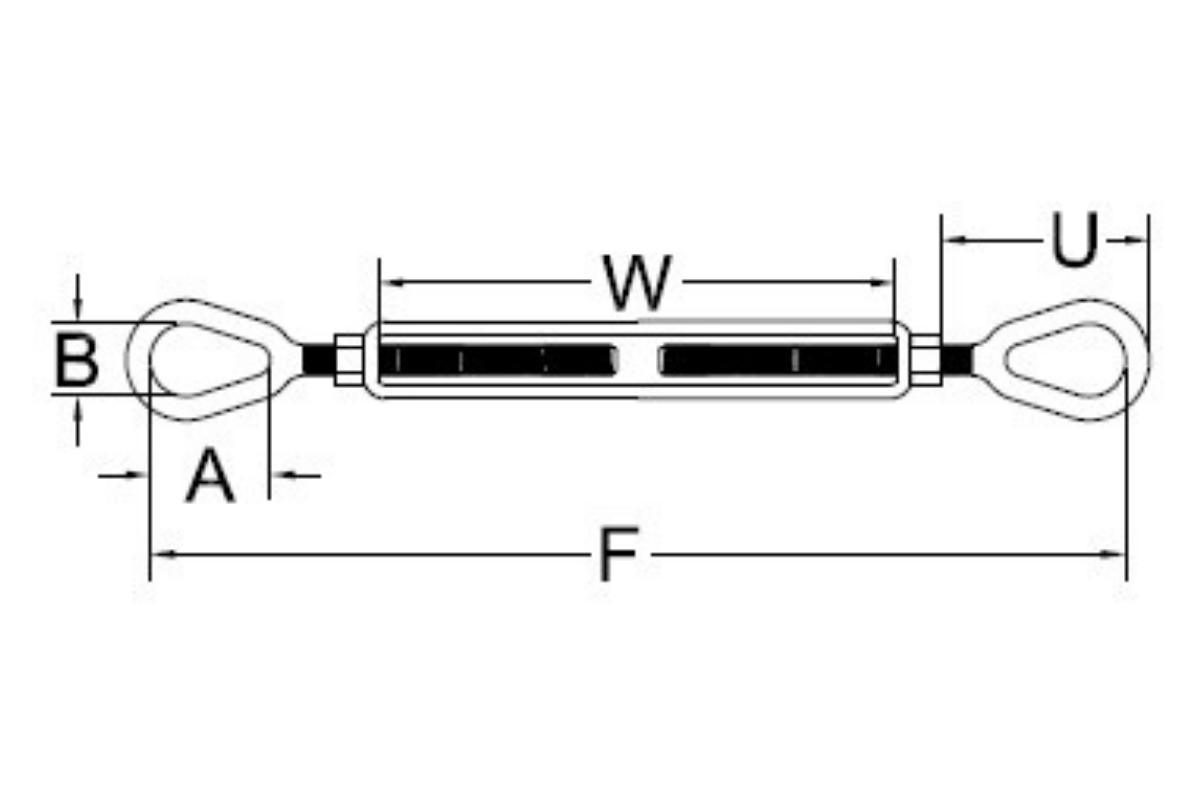
Eye-Eye turnbuckles

Accessories

Category Turnbuckles

Description

Eye-Eye turnbuckles are suitable for light to industrial use, but not for lifting. Primarily used with cables or ropes requiring an eyelet. Other sizes available upon request.

Material
Drop-forged steel